GBT554-2008 Marine Bollard Type B
Introduction:
GBT554-2008 is a Chinese standard for marine bollards, which are used to secure ships or boats to a pier, wharf, or quay.
Type B marine bollards are designed for use with medium-sized ships or boats, and they typically have a cylindrical shape with a base plate that is bolted to the ground. The bollard is typically made of cast iron or cast steel, and it has a smooth surface to prevent damage to the mooring lines.
The standard specifies the dimensions, material, and load capacity requirements for Type B marine bollards. The load capacity varies depending on the size and configuration of the bollard, but it is typically in the range of 20 to 200 metric tons.
Type B marine bollards are commonly used in ports, marinas, and other marine facilities to provide a secure point of attachment for vessels. They are designed to withstand the forces of wind, waves, and currents, as well as the weight and movement of the vessel being moored.

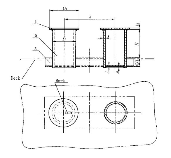
Parameters of GBT554-2008 Marine Bollard Type B:
Nominal Dia. (mm) | Max. Breaking Load (KN) | A | D | D1 | h | ≧t | ≧t1 | t2 | H | |
Deck Without Plywood | Deck With Plywood | |||||||||
160 | 49 | 400 | 168 | 210 | 8 | 10 | 6 | 9 | 250 | 310 |
200 | 78 | 500 | 219 | 270 | 8 | 10 | 8 | 9 | 300 | 360 |
250 | 118 | 630 | 273 | 335 | 8 | 11 | 10 | 9 | 380 | 440 |
315 | 196 | 800 | 325 | 390 | 10 | 15 | 12 | 9 | 480 | 540 |
355 | 255 | 890 | 351 | 420 | 10 | 17 | 13 | 12 | 530 | 590 |
400 | 314 | 1000 | 402 | 480 | 10 | 18 | 14 | 12 | 600 | 660 |
450 | 382 | 1130 | 450 | 545 | 10 | 19 | 16 | 12 | 680 | 740 |
500 | 451 | 1250 | 500 | 600 | 12 | 20 | 18 | 12 | 750 | 810 |

Tel:+ +8613588244516
Email: