JIS F2804-1976 Marine Single Cross Bollard
Description:
JIS F2804-1976 marine single cross bollard is just one of the several standard of ship’s cross bitts. It’s material is mainly steel plate. Besides, we can provide you bollard according to your specific requirements. If you are interested in any of our products, please feel free to contact us.
Maintenance of Marine Single Cross Bollard:
Maintaining a marine single cross bollard is crucial to ensure the safe and efficient mooring of a vessel. Here are some steps to follow for the maintenance of a marine single cross bollard:
1. Inspect the bollard regularly: Regular inspection is essential to ensure that the bollard is in good working condition. Check for any signs of corrosion, cracks, or other damage that may affect the bollard's strength.
2. Clean the bollard: Cleaning the bollard regularly can help prevent the buildup of dirt, debris, and salt that can lead to corrosion. Use a mild detergent and a soft-bristled brush to clean the bollard thoroughly.
3. Lubricate the bollard: Lubrication can help prevent corrosion and make the bollard easier to use. Apply a suitable lubricant to the moving parts of the bollard, such as the pin and hinge, regularly.
4. Repair any damage: If you notice any damage to the bollard, such as cracks or corrosion, it's essential to repair it as soon as possible. Ignoring damage can lead to further deterioration and compromise the bollard's strength.
5. Replace the bollard if necessary: If the bollard is severely damaged or worn out, it's essential to replace it with a new one. A damaged or weakened bollard can pose a significant risk to the vessel's mooring and the safety of those on board.
Overview:
Model Type: Single Cross Bollard;
Material: Steel Plate;
Certificates: CCS, ABS, BV, LR, NK, RINA, etc.;
Standard: JIS F2804-1976.

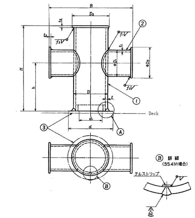
Parameters of JIS F2804-1976 Marine Single Cross Bollard:
Nominal Size (mm) | Material | H | h | B | D | D1 | D2 | D3 | d | d1 | t | t1 | t2 | t3 | Weight (kg) |
150 | P | 480 | 280 | 460 | 165.2 | 114.3 | 206 | 158 | 240 | 120 | 11.0 | 8.6 | 8 | 8 | 33.0 |
150 | S | 480 | 280 | 460 | 170 | 120 | 210 | 164 | 240 | 120 | 10 | 8 | 8 | 8 | 32.0 |
200 | P | 560 | 320 | 520 | 216.3 | 165.2 | 256 | 206 | 280 | 140 | 12.7 | 11.0 | 10 | 10 | 60.4 |
200 | S | 560 | 320 | 520 | 220 | 170 | 260 | 210 | 280 | 140 | 12 | 10 | 10 | 10 | 58.6 |
250 | P | 640 | 360 | 610 | 267.4 | 216.3 | 308 | 256 | 340 | 170 | 15.1 | 12.7 | 12 | 12 | 102.9 |
250 | S | 640 | 360 | 610 | 270 | 220 | 310 | 260 | 340 | 170 | 14 | 12 | 12 | 12 | 94.1 |
300 | P | 680 | 360 | 660 | 318.5 | 267.4 | 360 | 308 | 400 | 200 | 17.4 | 15.1 | 14 | 14 | 154.0 |
300 | S | 680 | 360 | 660 | 320 | 270 | 360 | 310 | 400 | 200 | 16 | 14 | 14 | 14 | 138.0 |
350 | P | 720 | 420 | 720 | 355.6 | 267.4 | 400 | 312 | 440 | 240 | 19.0 | 15.1 | 14 | 14 | 186.3 |
350 | S | 720 | 420 | 720 | 360 | 270 | 404 | 314 | 440 | 240 | 18 | 14 | 14 | 14 | 171.7 |
Tel:+ +8613588244516
Email: